HOME
ABOUT US
PRODUCTS
CERTIFICATIONS
CONTACT US
HOME
ABOUT US
PRODUCTS
CERTIFICATIONS
CONTACT US
Other Valves
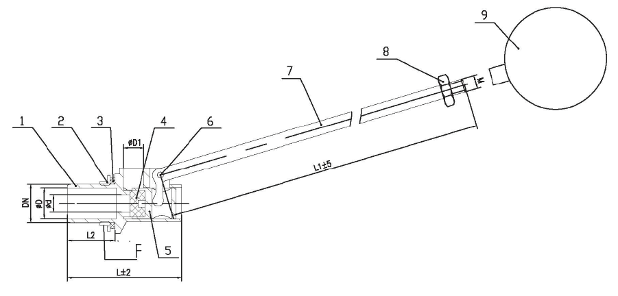
Equilibrium Float Valve PN16
Features & Benefits
Equilibrium pattern
Smoothly controlled closure ensuring fast, quit shut-off
Threaded inlet
Pressure/Temperature Rating
16 Bar from -10°C to 90°C
Material Specification
Dimensions and Weight
All dimensions are nominal (indicative).Actual dimensions may vary.
Dimensional Drawings